TGFZ組合關風器
用途: 廣泛應用于粉碎機,糧油飼料加工、制藥,釀造,水泥,化工等行業的氣力輸送與除塵設備上。
產品簡介
TGFZ系列(配擺線針輪減速機)組合式關風機


本公司設計制造的關風機是由關風機(分鑄鐵及不銹鋼二大類)于減速機(擺線針輪減速機和行星齒輪減速機)組合而成的新一代關風機系列,具有結構緊湊,外型美觀,機械效率高,傳動平穩,噪聲低,使用可靠,安裝、維修方便等特點。
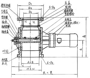
技術參數:
| 規格 升 |
轉速 r/min |
高 | 長 | 寬 | h | c | 進口安裝尺寸 | 出口 | 地腳尺寸 | 減速機 型號 |
電機功率 KW | ||||
| D1 | D2 | D3 | 6-D4 | AXB | 4-D5 | MXN | |||||||||
| 3.5 | 49 | 353 | 582 | 246 | 140 | 160 | 195 | 165 | 127 | 6-M8 | 130x145 | 4-φ11 | 160x195 | B100 | 0.55 |
| 5 | |||||||||||||||
| 7 | 49 | 453 | 700 | 310 | 175 | 196 | 245 | 215 | 170 | 6-M10 | 185X180 | 4-φ13 | 210X260 | B120 | 0.75-1.1 |

